
MBT-4000 Multi-Band Transceiver System Revision 1
Introduction MN/MBT4000B.IOM
1–2
• Easy expansion for providing a redundant system or other frequency bands
• System status verification via LEDs located behind a removable cover
1.3 System Overview
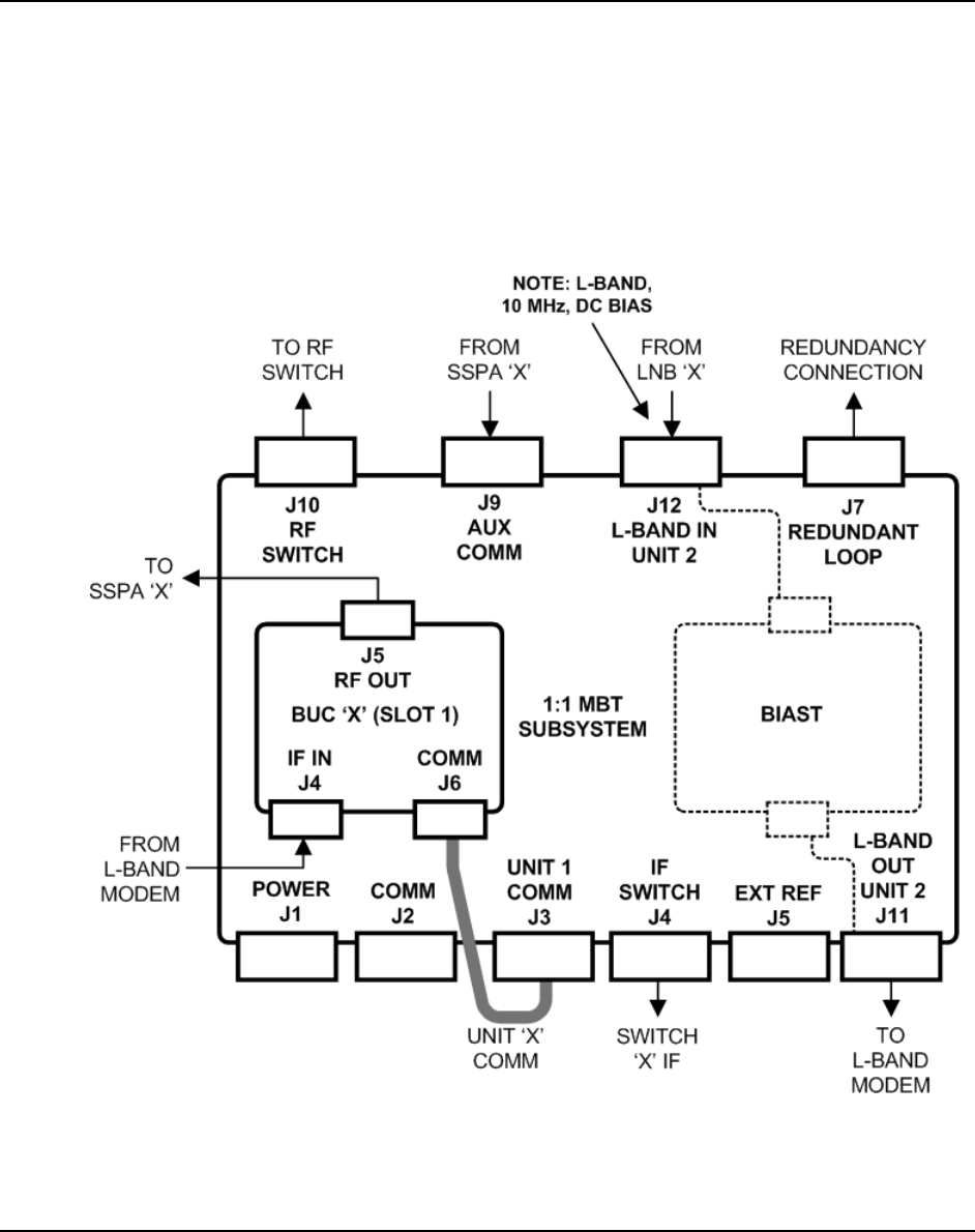
Figure 1-2 depicts the operation schematic for a typical MBT-4000B application. The MBT-4000B
Multi-Band Tranceiver System is constructed in a modular configuration. Figure 1-2 illustrates
the key components of this configuration. The transceiver is constructed in a modular
configuration. Common to the configuration for any frequency band of operation is a base
module, which provides the M&C, Power Supply, and Reference function. A band-specific BUC
module is mounted to the base module with clip-type fasteners. An internal bias tee provides a
10 MHz reference and bias voltage for an external LNB.
Figure 1-2. MBT-4000B Typical Application Schematic
Comentários a estes Manuais